Магазин запчастей для бытовой техники - Arlos
Москва
close
Выберите ваш регион
АбаканАлександровАльметьевскАнгарскАрзамасАрмавирАртемАрхангельскАстраханьАчинскБалаковоБалашихаБеларусьБелгородБердскБерезникиБийскБлаговещенскБратскБрянскВеликий НовгородВидноеВладивостокВладикавказВладимирВолгоградВолгодонскВолжскийВологдаВолховВоркутаВоронежВоскресенскВыборгГатчинаГеленджикГрозныйДедовскДербентДзержинскДзержинскийДимитровградДмитровДолгопрудныйДомодедовоДонецкЕвпаторияЕгорьевскЕкатеринбургЕлецЕссентукиЖелезногорскЖелезнодорожныйЖуковскийЗеленоградЗлатоустИвановоИвантеевкаИжевскИркутскИстраЙошкар-ОлаКазаньКалининградКалугаКаменск-УральскийКамышинКаспийскКемеровоКерчьКировКисловодскКлинКовровКоломнаКомсомольск-на-АмуреКопейскКоролёвКостромаКотельникиКрасногорскКраснодарКраснознаменскКрасноярскКурганКурскКызылЛенинск-КузнецкийЛипецкЛобняЛыткариноЛюберцыМагнитогорскМайкопМалаховкаМахачкалаМиассМоскваМурманскМуромМытищиНабережные ЧелныНазраньНальчикНаро-ФоминскНахабиноНаходкаНевинномысскНефтекамскНефтеюганскНижневартовскНижнекамскНижний НовгородНижний ТагилНовокузнецкНовокуйбышевскНовомосковскНовороссийскНовосибирскНовоуральскНовочебоксарскНовочеркасскНовошахтинскНовый УренгойНогинскНорильскНоябрьскОбнинскОдинцовоОктябрьскийОмскОрелОренбургОрехово-ЗуевоОрскПавловский ПосадПензаПервоуральскПермьПетрозаводскПетропавловск-КамчатскийПодольскПрокопьевскПсковПушкиноПятигорскРаменскоеРеутовРостов-на-ДонуРубцовскРыбинскРязаньСакиСалаватСамараСанкт-ПетербургСаранскСаратовСевастопольСеверодвинскСеверскСергиев ПосадСерпуховСимферопольСмоленскСосновый БорСочиСтавропольСтарый ОсколСтерлитамакСтупиноСургутСызраньСыктывкарТаганрогТамбовТверьТихвинТольяттиТомилиноТомскТроицкТулаТюменьУлан-УдэУльяновскУссурийскУсть-ИлимскУфаУхтаФеодосияФрязиноХабаровскХанты-МансийскХасавюртХимкиЧебоксарыЧелябинскЧереповецЧеркесскЧеховЧитаШахтыЩелковоЭлектростальЭлистаЭнгельсЮжно-СахалинскЯкутскЯлтаЯрославль
  • - бесплатно по РФ
    Автоперезвон. Работает по принципу: Вы позвонили на номер, мы сбрасываем звонок и перезваниваем через 3 секунды.
  • - по Москве
  • 8 (925) 663-83-63

Call-центр

пн-вс: 10:00-19:00

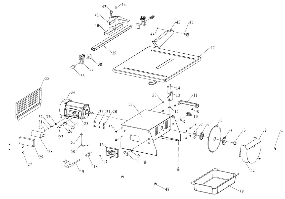
ЗАПЧАСТИ ДЛЯ ПЛИТКОРЕЗА ЭЛЕКТРИЧЕСКОГО ELITECH ПЭ 600

NАртикулНазваниеСрок отгрузкиЦенаКупить
1 1102.025000 Винт Phillips
2 1102.025100 Кожух защитный верхний
3 1102.025200 Гайка
4 1102.025300 Фланец внешний,BD-TC180E-1-04 97 р.
5 1102.025400 Диск алмазный
6 1102.025500 Фланец прижимной внутренний
7 1102.025600 Шайба,BD-TC180E-1-07, аналог 1102.037000 21 р.
8 1102.025700 Винт
9 1102.025800 Шайба
10 1102.025900 Винт барашковый
11 1102.026000 Рукоятка
12 1102.026100 Пластина
13 1102.026200 Кронштейн
14 1102.026300 Винт
15 1102.026400 Основание,BD-TC180E-1-15 1.846 р.
16 1102.026500 Выключатель в сборе с рамкой BD-TC180E-1-16 695 р.
17 1102.026600 Винт
18 1102.026700 Изолятор кабеля сетевого
19 1102.026800 УЗО, 220В, 16А. ПЭ 450.600.800.1000.1200. СМ.1102.042600. 1102.062900 2.400 р.
20 1102.026900 Зажим провода
21 1102.027000 Шайба
22 1102.027100 Винт
23 1102.027200 Короб распределительный
24 1102.027300 Винт
25 1102.027400 Зажим провода
26 1102.027500 Шайба
27 1102.027600 Винт
28 1102.027700 Конденсатор
29 1102.027800 Крышка коробки распределительной
30 1102.027900 Винт
31 1102.028000 Шайба
32 1102.028100 Клемма заземления
33 1102.028200 Шайба
34 1102.028300 Электродвигатель,BD-TC180E-1-34, ПЭ600 4.219 р.
35 1102.028400 Решетка задняя
36 1102.028500 Рычаг фиксатора направляющей, BD-TC180E-1-36 , ПЭ600 140 р.
37 1102.028600 Направляющая параллельного упора, BD-TC180E-1-37, ПЭ600 75 р.
38 1102.028700 Фиксатор направляющей, BD-TC180E-1-38 , ПЭ600 75 р.
39 1102.020001 Упор параллельный 548 р.
40 1102.028800 Направляющая углового упора,BD-TC180E-1-40 98 р.
41 1102.028900 Упор угловой ,BD-TC180E-1-41 107 р.
42 1102.029000 Винт-барашек,BD-TC180E-1-42 31 р.
43 1102.029100 Винт
44 1102.029200 Гайка
45 1102.029300 Кожух защитный
46 1102.029400 Винт-барашек,BD-TC180E-1-46 98 р.
47 1102.029500 Стол рабочий,BD-TC180E-1-47 1.920 р.
48 1102.029600 Опора
49 1102.029700 Контейнер для воды 465 р.
50 1102.029800 Провод соединительный
51 1102.029900 Втулка
52 1102.030000 Кожух защитный нижний
53 1102.030100 Винт Phillips
54 1102.030010 Ключ (комплект 2 шт)
Найдено товаров: 54
1
▲ Наверх
0
8 (925) 663-83-63

Call-центр

пн-вс: 10:00-19:00

НАЙТИ ПО МОДЕЛИ
Введите номер заказа
Введите номер своего заказа, что бы узнать его текущий статус.
Что бы получить доступ к расширенным функциям, пройдите не сложную регистрацию. Зарегистрироваться