Магазин запчастей для бытовой техники - Arlos
Москва
close
Выберите ваш регион
АбаканАлександровАльметьевскАнгарскАрзамасАрмавирАртемАрхангельскАстраханьАчинскБалаковоБалашихаБеларусьБелгородБердскБерезникиБийскБлаговещенскБратскБрянскВеликий НовгородВидноеВладивостокВладикавказВладимирВолгоградВолгодонскВолжскийВологдаВолховВоркутаВоронежВоскресенскВыборгГатчинаГеленджикГрозныйДедовскДербентДзержинскДзержинскийДимитровградДмитровДолгопрудныйДомодедовоДонецкЕвпаторияЕгорьевскЕкатеринбургЕлецЕссентукиЖелезногорскЖелезнодорожныйЖуковскийЗеленоградЗлатоустИвановоИвантеевкаИжевскИркутскИстраЙошкар-ОлаКазаньКалининградКалугаКаменск-УральскийКамышинКаспийскКемеровоКерчьКировКисловодскКлинКовровКоломнаКомсомольск-на-АмуреКопейскКоролёвКостромаКотельникиКрасногорскКраснодарКраснознаменскКрасноярскКурганКурскКызылЛенинск-КузнецкийЛипецкЛобняЛыткариноЛюберцыМагнитогорскМайкопМалаховкаМахачкалаМиассМоскваМурманскМуромМытищиНабережные ЧелныНазраньНальчикНаро-ФоминскНахабиноНаходкаНевинномысскНефтекамскНефтеюганскНижневартовскНижнекамскНижний НовгородНижний ТагилНовокузнецкНовокуйбышевскНовомосковскНовороссийскНовосибирскНовоуральскНовочебоксарскНовочеркасскНовошахтинскНовый УренгойНогинскНорильскНоябрьскОбнинскОдинцовоОктябрьскийОмскОрелОренбургОрехово-ЗуевоОрскПавловский ПосадПензаПервоуральскПермьПетрозаводскПетропавловск-КамчатскийПодольскПрокопьевскПсковПушкиноПятигорскРаменскоеРеутовРостов-на-ДонуРубцовскРыбинскРязаньСакиСалаватСамараСанкт-ПетербургСаранскСаратовСевастопольСеверодвинскСеверскСергиев ПосадСерпуховСимферопольСмоленскСосновый БорСочиСтавропольСтарый ОсколСтерлитамакСтупиноСургутСызраньСыктывкарТаганрогТамбовТверьТихвинТольяттиТомилиноТомскТроицкТулаТюменьУлан-УдэУльяновскУссурийскУсть-ИлимскУфаУхтаФеодосияФрязиноХабаровскХанты-МансийскХасавюртХимкиЧебоксарыЧелябинскЧереповецЧеркесскЧеховЧитаШахтыЩелковоЭлектростальЭлистаЭнгельсЮжно-СахалинскЯкутскЯлтаЯрославль
  • - бесплатно по РФ
    Автоперезвон. Работает по принципу: Вы позвонили на номер, мы сбрасываем звонок и перезваниваем через 3 секунды.
  • - по Москве
  • 8 (925) 663-83-63

Call-центр

пн-вс: 10:00-19:00

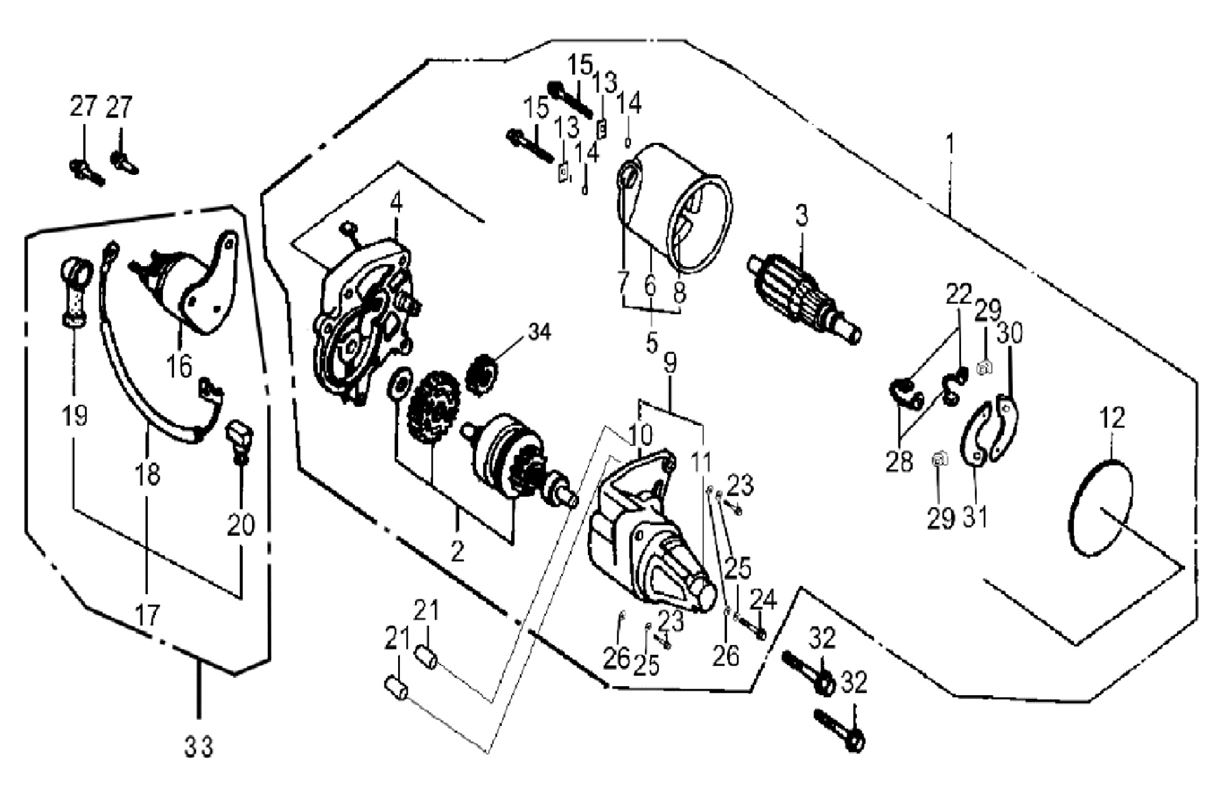
ЗАПЧАСТИ ДЛЯ ГЕНЕРАТОРА БЕНЗИНОВОГО ELITECH БЭС 3000 (СТАРТЕР ЭЛЕКТРИЧЕСКИЙ)

NАртикулНазваниеСрок отгрузкиЦенаКупить
1 0101.030700 Стартер электрический
2 0101.030800 Муфта кулачковая обгонная
3 0101.030900 Ротор
4 0101.031000 Корпус средний стартера электрического
5 0101.031100 Кожух с обмотками возбуждения
6 0101.031200 Обмотка возбуждения
7 0101.031300 Щеткодержатель
8 0101.031400 Полоса магнитная (магнит)
9 0101.031500 Фланец крепления
10 0101.031600 Кронштейн
11 0101.031700 Корпус муфты кулачковой обгонной
15 0101.031800 Болт
16 0101.031900 Реле тяговое
17 0101.032000 Провод стартера в сборе
18 0101.032100 Провод многожильный
19 0101.032200 Наконечник клеммы стартера (резиновый)
20 0101.032300 Наконечник клеммы реле тягового
21 0101.032400 Штифт 8х10 мм
22 0101.032500 Щетка угольная
23 0101.032600 Винт M5х18 мм
24 0101.032700 Винт M5х30 мм
25 0101.032800 Шайба пружинная D.5 мм
26 0101.032900 Прокладка
27 0101.033000 Болт M5х12 мм
28 0101.033100 Провод щетки угольной
29 0101.033200 Пружина
30 0101.033300 Прокладка сегментная изолирующая
31 0101.033400 Прокладка сегментная изолирующая (металлическая)
32 0101.033500 Болт 6х25 мм
33 0101.033600 Контактор в сборе
34 0101.033700 Шестерня
Найдено товаров: 31
1
▲ Наверх
0
8 (925) 663-83-63

Call-центр

пн-вс: 10:00-19:00

НАЙТИ ПО МОДЕЛИ
Введите номер заказа
Введите номер своего заказа, что бы узнать его текущий статус.
Что бы получить доступ к расширенным функциям, пройдите не сложную регистрацию. Зарегистрироваться