Магазин запчастей для бытовой техники - Arlos
Москва
close
Выберите ваш регион
АбаканАлександровАльметьевскАнгарскАрзамасАрмавирАртемАрхангельскАстраханьАчинскБалаковоБалашихаБеларусьБелгородБердскБерезникиБийскБлаговещенскБратскБрянскВеликий НовгородВидноеВладивостокВладикавказВладимирВолгоградВолгодонскВолжскийВологдаВолховВоркутаВоронежВоскресенскВыборгГатчинаГеленджикГрозныйДедовскДербентДзержинскДзержинскийДимитровградДмитровДолгопрудныйДомодедовоДонецкЕвпаторияЕгорьевскЕкатеринбургЕлецЕссентукиЖелезногорскЖелезнодорожныйЖуковскийЗеленоградЗлатоустИвановоИвантеевкаИжевскИркутскИстраЙошкар-ОлаКазаньКалининградКалугаКаменск-УральскийКамышинКаспийскКемеровоКерчьКировКисловодскКлинКовровКоломнаКомсомольск-на-АмуреКопейскКоролёвКостромаКотельникиКрасногорскКраснодарКраснознаменскКрасноярскКурганКурскКызылЛенинск-КузнецкийЛипецкЛобняЛыткариноЛюберцыМагнитогорскМайкопМалаховкаМахачкалаМиассМоскваМурманскМуромМытищиНабережные ЧелныНазраньНальчикНаро-ФоминскНахабиноНаходкаНевинномысскНефтекамскНефтеюганскНижневартовскНижнекамскНижний НовгородНижний ТагилНовокузнецкНовокуйбышевскНовомосковскНовороссийскНовосибирскНовоуральскНовочебоксарскНовочеркасскНовошахтинскНовый УренгойНогинскНорильскНоябрьскОбнинскОдинцовоОктябрьскийОмскОрелОренбургОрехово-ЗуевоОрскПавловский ПосадПензаПервоуральскПермьПетрозаводскПетропавловск-КамчатскийПодольскПрокопьевскПсковПушкиноПятигорскРаменскоеРеутовРостов-на-ДонуРубцовскРыбинскРязаньСакиСалаватСамараСанкт-ПетербургСаранскСаратовСевастопольСеверодвинскСеверскСергиев ПосадСерпуховСимферопольСмоленскСосновый БорСочиСтавропольСтарый ОсколСтерлитамакСтупиноСургутСызраньСыктывкарТаганрогТамбовТверьТихвинТольяттиТомилиноТомскТроицкТулаТюменьУлан-УдэУльяновскУссурийскУсть-ИлимскУфаУхтаФеодосияФрязиноХабаровскХанты-МансийскХасавюртХимкиЧебоксарыЧелябинскЧереповецЧеркесскЧеховЧитаШахтыЩелковоЭлектростальЭлистаЭнгельсЮжно-СахалинскЯкутскЯлтаЯрославль
  • - бесплатно по РФ
    Автоперезвон. Работает по принципу: Вы позвонили на номер, мы сбрасываем звонок и перезваниваем через 3 секунды.
  • - по Москве
  • 8 (925) 663-83-63

Call-центр

пн-вс: 10:00-19:00

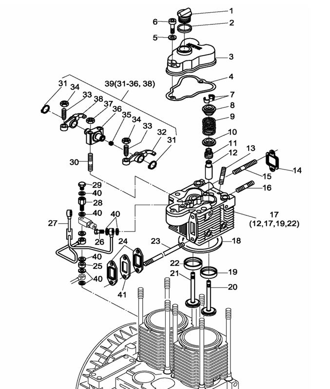
ЗАПЧАСТИ ДЛЯ ДВИГАТЕЛЯ ДИЗЕЛЬНОГО HL292FG1 (ГОЛОВКА ЦИЛИНДРА)

NАртикулНазваниеСрок отгрузкиЦенаКупить
1 0102.104560 Пробка отверстия залива масла М30Х3.5 , HL292F-02003 ,ДЭС12000ЕМ 220 р.
2 0102.104570 Прокладка резиновая , HL292F-02004 , ДЭС12000ЕМ 23 р.
3 0102.104580 Крышка клапанная
4 0102.104590 Прокладка крышки головки блока , HL292F-02002 , ДЭС12000ЕМ 87 р.
5 0102.104600 Шайба 8Х14, медь , HL292F-02018 , ДЭС12000ЕМ 23 р.
6 0102.104610 Болт M8х40 мм
7 0102.104620 Сухарь клапана , 2 шт. , HL292F-02006 , ДЭС12000ЕМ 90 р.
8 0102.104630 Тарелка пружины клапана
9 0102.104640 Пружина клапана
10 0102.104650 Тарелка пружины клапана
11 0102.104660 Сальник клапана HL292F-02010 ДЭС12000ЕМ : d7.6 D13.2 h10.6 Цвет белый 149 р.
12 0102.104670 Направляющая клапана
13 0102.104680 Шпилька M8х35 мм
14 0102.104690 Прокладка воздухозаборника , HL292F-02011 , ДЭС12000ЕМ 54 р.
15 0102.104700 Шпилька M8х85 мм
16 0102.104710 Шпилька M8х30 мм
17 0102.104720 Головка цилиндра в сборе , HL292F-02200 , ДЭС12000ЕМ 9.742 р.
18 0102.104730 Прокладка головки блока 0.50mm , HL292F-02012, ДЭС12000ЕМ 157 р.
18 0102.104740 Прокладка головки блока 0.60mm , HL292F-02031 , ДЭС12000ЕМ 157 р.
18 0102.104750 Прокладка головки блока 0.70mm , HL292F-02032 , ДЭС12000ЕМ 157 р.
18 0102.104760 Прокладка головки блока 0.80mm , HL292F-02033 , ДЭС12000ЕМ 157 р.
18 0102.104770 Прокладка головки блока 0.90mm , HL292F-02034 , ДЭС12000ЕМ 157 р.
18 0102.104780 Прокладка головки блока 1.00mm , 2 шт. , HL292F-02035 , ДЭС12000ЕМ 157 р.
18 0102.104790 Прокладка головки цилиндра 0,30 мм
18 0102.104800 Прокладка головки цилиндра 0,40 мм
19 0102.104810 Седло клапана выпускного
20 0102.104820 Клапан выпускной , HL292F-02013 , ДЭС12000ЕМ 572 р.
21 0102.104830 Клапан впускной , HL292F-02014 , ДЭС12000ЕМ 444 р.
22 0102.104840 Седло клапана впускного
23 0102.104850 Шпилька M8х185 мм
24 0102.104860 Прокладка коллектора выпускного 0,3 мм
25 0102.104870 Втулка 8х10 мм
26 0102.104880 Болт трубки масляной M8х1х25 мм
27 0102.104890 Трубка масляная в сборе , HL292F-02020 , ДЭС12000ЕМ 1.056 р.
28 0102.104900 Болт системы подачи масла M8х1
29 0102.104910 Болт M8х1х12 мм
30 0102.104920 Шпилька M8х40 мм
31 0102.100900 Кольцо стопорное
32 0102.104930 Коромысло клапана выпускного
33 0102.104940 Винт регулировочный
34 0102.104950 Гайка регулировочная M8х1
35 0102.104960 Винт M8х8 мм
36 0102.104970 Держатель коромысла
37 0102.104980 Гайка M8
38 0102.104990 Коромысло клапана впускного
39 0102.105000 Коромысло клапана в сборе 1.308 р.
40 0102.105010 Шайба 8Х11.5, медь , HL292F-02005 , ДЭС12000ЕМ 23 р.
41 0102.105020 Прокладка выпускного коллектора, армированная графитом 1.8 мм,HL292F-02038, ДЭС12000ЕМ 41 р.
Найдено товаров: 48
1
▲ Наверх
0
8 (925) 663-83-63

Call-центр

пн-вс: 10:00-19:00

НАЙТИ ПО МОДЕЛИ
Введите номер заказа
Введите номер своего заказа, что бы узнать его текущий статус.
Что бы получить доступ к расширенным функциям, пройдите не сложную регистрацию. Зарегистрироваться