8 (925) 663-83-63Call-центр
пн-вс: 10:00-19:00
| N | Артикул | Название | Срок отгрузки | Цена | Купить |
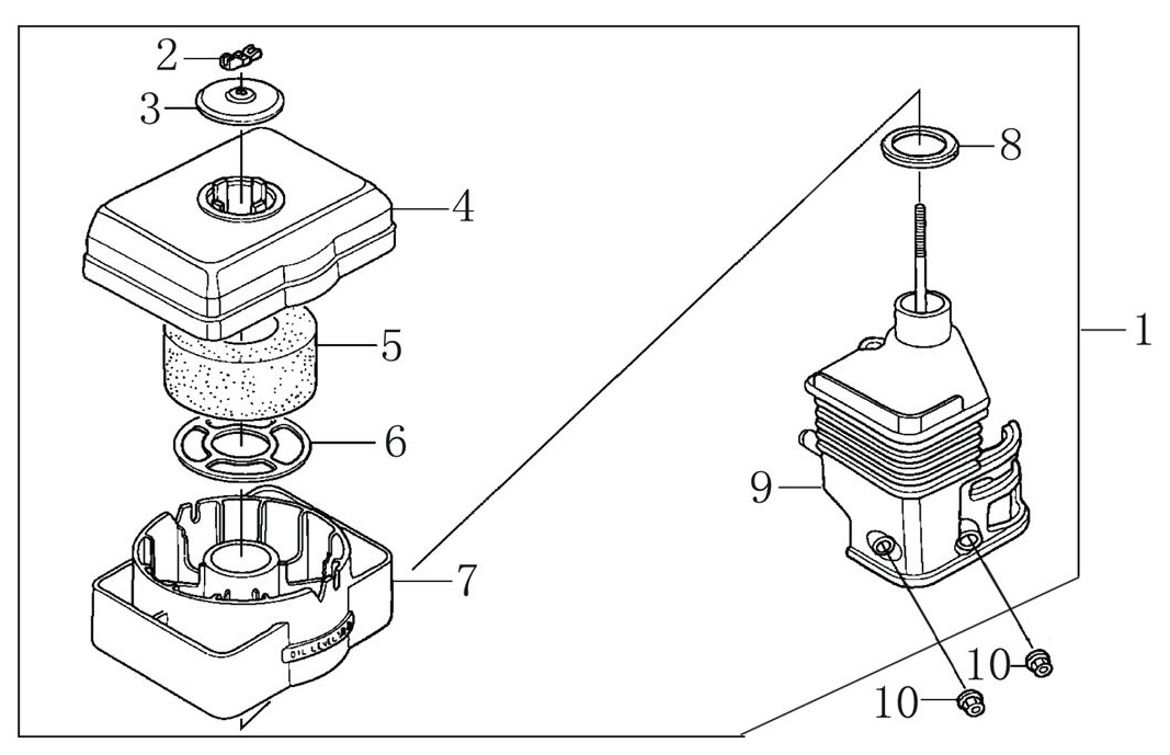
| 1 | 0400.189700 | Фильтр воздушный в сборе. 180020320-0001. КБ 51, 52, 60, 62, 492 | 794 р. | ||
| 2 | 0400.189800 | Гайба барашковая M6 | – | ||
| 3 | 0400.189900 | Шайба плоская крышки фильтра воздушного | – | ||
| 4 | 0400.190000 | Крышка фильтра воздушного | – | ||
| 5 | 0400.190100 | Элемент фильтрующий | 327 р. | ||
| 6 | 0400.190200 | Решетка фильтра воздушного | – | ||
| 7 | 0400.190300 | Корпус фильтра воздушного | – | ||
| 8 | 0400.190400 | Кольцо уплотнительное D.33х47х3 мм | – | ||
| 9 | 0400.190500 | Патрубок фильтра воздушного | – | ||
| 10 | 0104.019800 | Гайка фланцевая M6 | – |
| Найдено товаров: 10 |
|
8 (925) 663-83-63 Call-центр
пн-вс: 10:00-19:00
| Введите номер заказа |
| Введите номер своего заказа, что бы узнать его текущий статус. Что бы получить доступ к расширенным функциям, пройдите не сложную регистрацию. Зарегистрироваться |