8 (925) 663-83-63Call-центр
пн-вс: 10:00-19:00
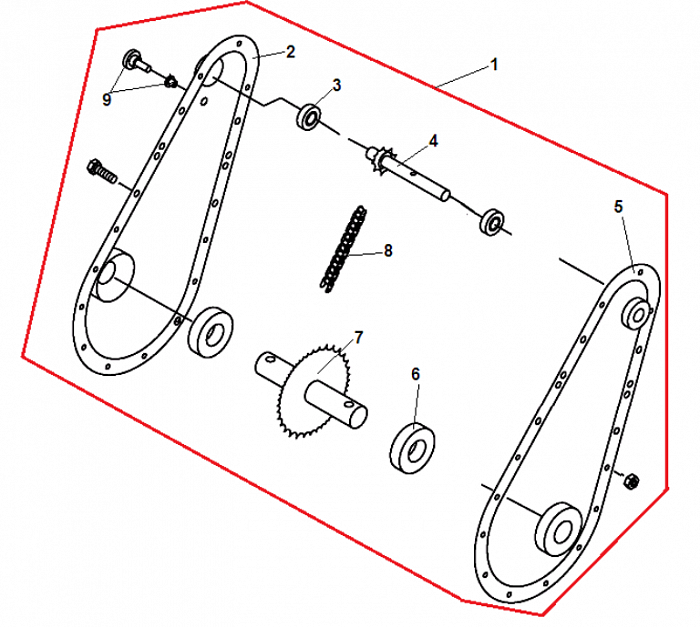
| N | Артикул | Название | Срок отгрузки | Цена | Купить |
| 1 | 802002 | Редуктор комплект | 5-7 рабочих дней | 8.889 р. | |
| 2 | 802003 | Корпус правая половина | 5-7 рабочих дней | – | |
| 3 | 801069 | Подшипник верхнего вала | 5-7 рабочих дней | 213 р. | |
| 4 | 802001 | Вал верхний | 5-7 рабочих дней | 1.038 р. | |
| 5 | 802004 | Корпус левая половина | 5-7 рабочих дней | – | |
| 6 | HY310 | Подшипник вала фрез | 5-7 рабочих дней | 334 р. | |
| 7 | 802042 | Вал привода фрез | 5-7 рабочих дней | 2.384 р. | |
| 8 | 803011 | Цепь приводная | 5-7 рабочих дней | 671 р. | |
| 9 | 802047 | Пробка | 5-7 рабочих дней | 33 р. |
| Найдено товаров: 9 |
|
8 (925) 663-83-63 Call-центр
пн-вс: 10:00-19:00
| Введите номер заказа |
| Введите номер своего заказа, что бы узнать его текущий статус. Что бы получить доступ к расширенным функциям, пройдите не сложную регистрацию. Зарегистрироваться |